實驗一、帶傳動實驗
一、 帶傳動的工作原理及特點
![]() |
1、帶傳動的工作原理:
圖1-1 磨擦型帶傳動工作原理
摩擦型帶傳動通常由主動輪、從動輪和傳動帶組成。傳動帶以一定的初拉力F0緊套在帶輪上,在F0的作用下,帶與帶輪的接觸面間產生正壓力,當主動輪1回轉時,接觸面間產生摩擦力,主動輪靠摩擦力使傳動帶3與其一起運動。同時,傳動帶靠摩擦力驅使從動輪2與其一起轉動,從而主動軸上的運動和動力通過傳動帶傳遞給了從動軸。
2、 帶傳動的特點
摩擦型帶傳動主要特點如下:
1、傳動帶具有彈性和撓性, 可吸收振動并緩和沖擊, 從而使傳動平穩、噪聲小;
2、當過載時,傳動帶與帶輪間可發生相對滑動而不損傷其他零件,起過載保護作用;
3、適合于主、 從動軸間中心距較大的傳動;
4、由于有彈性滑動存在,故不能保證準確的傳動比,傳動效率較低;
5、張緊力會產生較大的壓軸力, 使軸和軸承受力較大,帶傳動壽命底。
另外,帶在工作時,會產生彈性滑動,因此,傳動比不能嚴格保持不變。帶傳動的輪廓尺寸大,傳動效率較低。因此, 帶傳動一般傳遞功率為50~100 kW,帶速為5~25 m/s,傳動比不超過5,效率約為0.92~0.97。
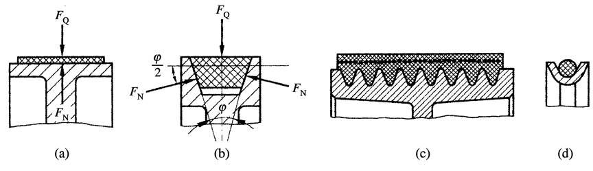
3、帶傳動的類型

圖1-2 帶的傳動類型和橫截面形狀
(a) 平帶; (b) V帶; (c) 多楔帶; (d) 圓形帶
V帶的截面形狀為梯形, V帶按其寬度和高度相對尺寸的不同,又分為普通V帶、窄V帶、寬V帶、 汽車V帶、齒形V帶、大楔角V帶等多種類型,目前,普通V帶應用最廣。
二、實驗操作
1、實驗的目的:
⑴了解帶傳動的構成,認識其組成元件;
⑵了解帶輪相關幾何參數的定義及其意義;
⑶掌握計算帶輪傳動比、帶傳動系統中軸的轉速及力矩的計算方法;
⑷了解帶在工程實際中的應用;
⑸掌握V帶的安裝及校準方法;
⑹掌握帶張力的調整方法。
2、實驗內容:
⑴計算帶輪傳動比;
⑵計算帶傳動系統中軸的轉速及力矩;
⑶安裝并校準V型帶;
3、實驗的儀器與設備
實驗工作臺、電機一臺、電機座、帶輪、V帶、軸承座、立柱、傳動軸(φ20活塞桿)、T型螺釘、M12螺母、、直尺一把(20cm)、米尺一把、、轉速傳感器、安裝工具一套等。
4、實驗過程與步驟:
實驗1、計算帶輪比率
步驟:在這個實驗里,將計算所給例題中帶輪的比率,即傳動比。在下個實驗中計算帶傳動中軸的力矩和轉速時會用到這個數值。
例:計算圖示1-3帶輪的比率,在這種情況下,一個帶輪的直徑是56mm,另一個是80mm。傳動比為:i=56/80=0.7。

PD=80 PD=56
圖1-3
1、 計算如圖1-4所示帶輪比率
帶輪比率=

PD=90 PD=50
圖1-4
實驗2、計算帶傳動系統中軸的轉速和力矩
大致步驟:在這個實驗中,將利用公式來計算主動軸和從動軸的轉速和力矩。
例:計算圖1-5中所示帶傳動系統中從動軸的轉速,主動輪直徑為56mm,從動輪直徑為80mm,主動輪力矩為200n.m,主動輪轉速1750r/min。算法如下:
Ø 帶輪比率=56/80=0.7
Ø 從動軸轉速=1750*0.7=1225r/min
Ø 從動輪力矩: (n.m)

PD=80 PD=56
圖1-5
1、 計算圖1-6所示帶傳動系統中(其中主動輪直徑為50mm,從動輪直徑為90mm,主動輪力矩5.5N/m,主動輪轉速120r/min)
1) 從動軸轉速: (rpm)

PD=90 PD=50
圖1-6
實驗3 安裝和校準V帶傳動系統
在這個實驗中,將執行安裝步驟和校準V帶傳動系統,保證兩傳動軸的平行度。完成搭接和校準后將在下個實驗中運行電機。
1.執行下列安全檢查
A.穿著合身的衣服(不可穿較寬松的),袖子扎起
B.項鏈、手表、戒指、領帶等飾品必須摘下
C.將長發盤起或置于帽中
D、地面不可潮濕。
2.將安全開關鎖住
3.安裝傳動系統
A. 選擇固定安裝電機的適當位置,(盡量靠近臺子的角邊,留下足夠的空間安裝固定帶輪傳動系統)如圖1-7所示;

圖1-7
B. 將電機底座開的U行槽對著臺子的T行槽,將底座的前邊和T行槽邊盡量保持平行,用T行螺釘、墊圈和螺母固定電機(螺母不要擰緊,以方便調整帶的張緊,和傳動系統的平行度)
C. 將帶輪裝在電機軸上(輕輕推入),直到帶輪上的螺孔和電機軸上的鍵槽對齊,通過內六角扳手擰緊緊定螺釘固定帶輪。
D.
![]() |
拉動帶輪檢查是否與電機軸固緊。裝配結果如圖1-8所示:
圖1-8
E. 選折合適的傳動軸,將傳動軸和軸承安裝在一起;
F. 用V帶試著選擇合適的位置,用長T行螺釘、墊圈、螺母固定四個軸承支架和安裝兩個軸承;
G. 將從動帶輪安裝在傳動軸上(和安裝主動帶輪相同),拉動帶輪檢查是否與傳動軸固緊;
H. 找到適配的V型帶,將V型帶裝在兩帶輪的輪槽內;裝配結果如圖1-9所示
圖1-9
I. 調整電機的位置,將米尺放置在從動帶輪表面上,其棱邊靠在從動帶輪上,然后檢查主動帶輪的位置,主動帶輪必須調整到其端面與從動帶輪端面在同一條直線上,即兩個帶輪的端面應齊平.以從動帶輪的位置為基準是因為就現裝置而言電機的位置比較容易進行調整.如果主動輪的端面也能和米尺的棱邊直接靠上,則證明主動軸與從動軸是平行的,(如果經測量發現主動帶輪的端面僅有一端和米尺的棱邊接觸上,則說明軸不平行,如果主動帶輪沒有任何部分與米尺接觸上,則說明兩軸不平行或是帶輪未對準.)
J. 校準好傳動系統后擰緊電機底座上的4個T型螺釘。裝配結果如圖1-10所示,手動運行傳動系統,確保機構能穩定安全運行。

圖1-10
實驗4、確定帶的張緊力
注:本實驗應根據設備的具體參數進行自行設置,帶的張緊力應根據設計公式進行計算:

其中:
ka——為包角系數;
v——帶速(m/s);
q——帶每米的質量(kg/m);
z——V帶的根數;
p——單根V帶傳遞的功率(KW)
測定帶的許用張緊力
| 特征 | 參數 |
| 帶型號 | Z |
| 帶輪直徑 | 50、90mm |
| 運行速度 | 120RPM |
| 帶的使用狀態(新、舊) | 新 |
實驗5、分析V帶傳動
步驟:在這個實驗中,你將繼續上個實驗的內容,測量V帶傳動的輸出速度和力矩
1、 繼續上個實驗,執行下列步驟打開電機:
A. 打開電源;
B. 打開電機電源;
2、 用轉速表測量電機軸(主動軸)和從動軸的轉速,并記錄下來
主動軸轉速 (RPM)
該機構從動輪速度比主動輪速度低,稱為減速傳動。這種機構在工程實際中 常用.
C. 關閉電機;
D. 斷開安全電源;
3、 執行下列步驟拆卸V帶傳動
A. 松開電機底座的鎖定螺母并將電機朝從動軸方向移動,這樣將使帶松弛;
B. 將帶從帶輪上取下;
C. 確保將帶取下時不要用力,應盡可能的將電機移向從動軸方向.
D. 用內六角扳手擰松與電機軸相連的小帶輪的緊定螺釘;
E. 將帶輪從電機軸上取下;
F. 拆下從動軸上的帶輪,步驟同上;
G. 將兩個帶輪調換重新裝配,檢查帶的校準,張緊力并把電機鎖定到適當的位置。
4、 打開電源開關;
5、 開啟電機持續運行大約1分鐘后關閉電機;
6、 重新開啟電機并調到合適的速度運轉;
7、 用轉速表測量電機軸和從動軸的轉速并記錄下來:
主動軸轉速 (RPM)
從動軸轉速 (RPM)
傳動比
從動軸的轉速
8、 關閉電機;
9、 關閉電源;
10、 拆卸裝置,將各部件及工具收好。
習 題
1.1 窄V帶傳動與普通V帶傳動有什么不同?帶傳動為什么會產生彈性滑動?彈性滑動與打滑有什么不同?
1.2 設計V帶傳動時,如果根數過多,如何處理?如果小帶輪包角太小, 如何處理?
1.3 設計V帶傳動時,為什么要限制速度?為什么直徑不宜取得太小?
1.4 設單根V帶所能傳遞的最大功率Pmax= 4.2 kW,已知主動輪直徑D1=160mm,轉速n1=1500 r/min,包角α1= 140°,帶與帶輪間的當量摩擦系數fv=0.2, 求有效拉力F ,緊邊拉力F1。
1.5 已知V帶傳動的主動輪直徑da1=100 mm,從動輪直徑da2=400 mm,主動輪裝在三相異步電動機上,電動機轉速n1=1450r/min,采用二根(A1800)V帶,三班制工作,載荷較平穩。 試求該傳動所能傳遞的功率。
1.6 試設計一液體攪拌機用的V帶傳動。小帶輪裝在電動機軸上,電動機功率P=1.5 kW,轉速n1=940r/min,從動輪轉速n2=290 r/min,二班制工作,要求中心距不超過500mm。




