什么是液壓?液壓傳動的工作原理
2013-09-03 08:35液壓傳動的工作原理
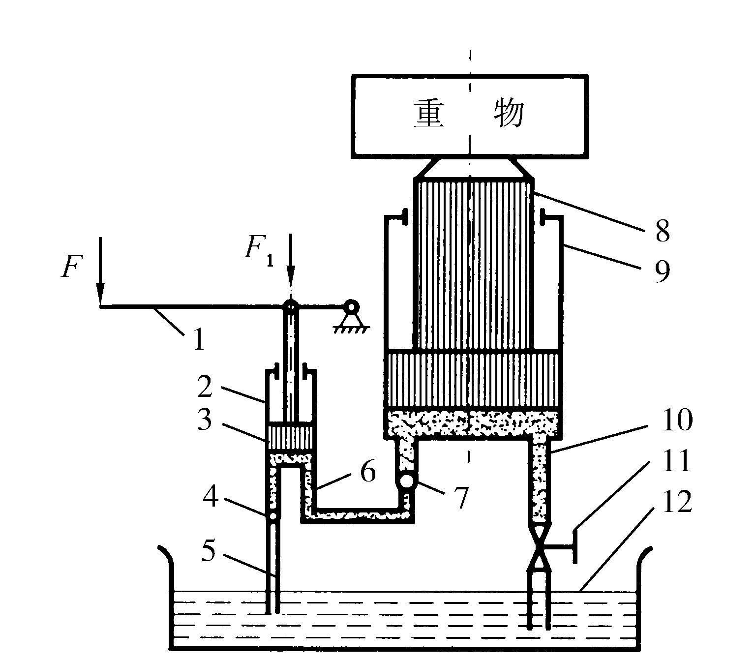
液壓傳動的工作原理,可以用一個液壓千斤頂的工作原理來說明。

圖0-1液壓千斤頂工作原理圖
1—杠桿手柄2—小油缸3—小活塞4,7—單向閥5—吸油管6,10—管道?
8—大活塞9—大油缸11—截止閥12—油箱
圖0-1是液壓千斤頂的工作原理圖。大油缸9和大活塞8組成舉升液壓缸。杠桿手柄1、小油缸2、小活塞3、單向閥4和7組成手動液壓泵。如提起手柄使小活塞向上移動,小活塞下端油腔容積增大,形成局部真空,這時單向閥4打開,通過吸油管5從油箱12中吸油;用力壓下手柄,小活塞下移,小活塞下腔壓力升高,單向閥4關閉,單向閥7打開,下腔的油液經管道6輸入舉升油缸9的下腔,迫使大活塞8向上移動,頂起重物。再次提起手柄吸油時,單向閥7自動關閉,使油液不能倒流,從而保證了重物不會自行下落。不斷地往復扳動手柄,就能不斷地把油液壓入舉升缸下腔,使重物逐漸地升起。如果打開截止閥11,舉升缸下腔的油液通過管道10、截止閥11流回油箱,重物就向下移動。這就是液壓千斤頂的工作原理。
通過對上面液壓千斤頂工作過程的分析,可以初步了解到液壓實驗臺液壓傳動的基本工作原理。液壓傳動是利用有壓力的油液作為傳遞動力的工作介質。壓下杠桿時,小油缸2輸出壓力油,是將機械能轉換成油液的壓力能,壓力油經過管道6及單向閥7,推動大活塞8舉起重物,是將油液的壓力能又轉換成機械能。大活塞8舉升的速度取決于單位時間內流入大油缸9中油容積的多少。由此可見,液壓傳動是一個不同能量的轉換過程。
液壓傳動的工作原理,可以用一個液壓千斤頂的工作原理來說明。

圖0-1液壓千斤頂工作原理圖
1—杠桿手柄2—小油缸3—小活塞4,7—單向閥5—吸油管6,10—管道?
8—大活塞9—大油缸11—截止閥12—油箱
圖0-1是液壓千斤頂的工作原理圖。大油缸9和大活塞8組成舉升液壓缸。杠桿手柄1、小油缸2、小活塞3、單向閥4和7組成手動液壓泵。如提起手柄使小活塞向上移動,小活塞下端油腔容積增大,形成局部真空,這時單向閥4打開,通過吸油管5從油箱12中吸油;用力壓下手柄,小活塞下移,小活塞下腔壓力升高,單向閥4關閉,單向閥7打開,下腔的油液經管道6輸入舉升油缸9的下腔,迫使大活塞8向上移動,頂起重物。再次提起手柄吸油時,單向閥7自動關閉,使油液不能倒流,從而保證了重物不會自行下落。不斷地往復扳動手柄,就能不斷地把油液壓入舉升缸下腔,使重物逐漸地升起。如果打開截止閥11,舉升缸下腔的油液通過管道10、截止閥11流回油箱,重物就向下移動。這就是液壓千斤頂的工作原理。
通過對上面液壓千斤頂工作過程的分析,可以初步了解到液壓實驗臺液壓傳動的基本工作原理。液壓傳動是利用有壓力的油液作為傳遞動力的工作介質。壓下杠桿時,小油缸2輸出壓力油,是將機械能轉換成油液的壓力能,壓力油經過管道6及單向閥7,推動大活塞8舉起重物,是將油液的壓力能又轉換成機械能。大活塞8舉升的速度取決于單位時間內流入大油缸9中油容積的多少。由此可見,液壓傳動是一個不同能量的轉換過程。

